ALPHA MICROSYSTEMS

AM-740

Card Type

Memory

Maximum Onboard Memory

128MB

I/O Options

Board connector (1)

Data Bus

VMEbus

CONNECTIONS

Purpose

Location

Purpose

Location

Board connector

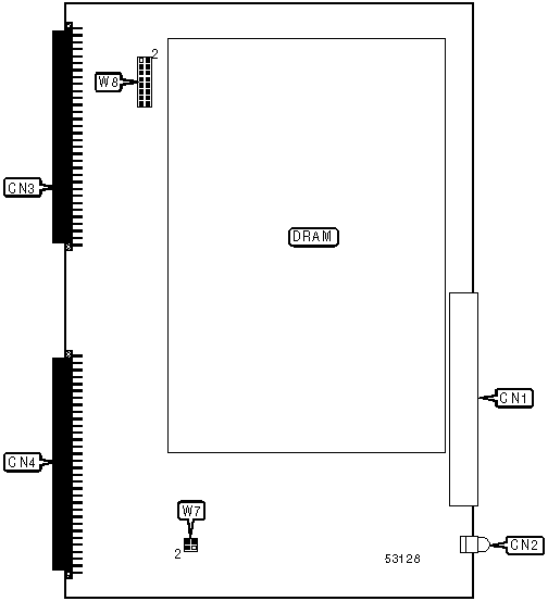
CN1

VMEbus

CN3

Parity status LED

CN2

VMEbus

CN4

DRAM CONFIGURATION

Note: The size and number of chips are unidentified. This memory board will be factory installed with 4MB, 8MB or 12MB.

BASE MEMORY SELECTION

Size

W8

None

1 & 2, 3 & 4, 5 & 6, 7 & 8, 9 & 10, 11 & 12, 13 & 14, 15 & 16

4MB

Open

8MB

1 & 2

12MB

3 & 4

16MB

1 & 2, 3 & 4

20MB

5 & 6

24MB

1 & 2, 5 & 6

28MB

3 & 4, 5 & 6

32MB

1 & 2, 3 & 4, 5 & 6

36MB

7 & 8

40MB

1 & 2, 7 & 8

44MB

3 & 4, 7 & 8

48MB

1 & 2, 3 & 4, 7 & 8

52MB

5 & 6, 7 & 8

56MB

1 & 2, 5 & 6, 7 & 8

60MB

3 & 4, 5 & 6, 7 & 8

64MB

1 & 2, 3 & 4, 5 & 6, 7 & 8

68MB

9 & 10

72MB

1 & 2, 9 & 10

76MB

3 & 4, 9 & 10

80MB

1 & 2, 3 & 4, 9 & 10

84MB

5 & 6, 9 & 10

88MB

1 & 2, 5 & 6, 9 & 10

92MB

3 & 4, 5 & 6, 9 & 10

96MB

1 & 2, 3 & 4, 5 & 6, 9 & 10

100MB

7 & 8, 9 & 10

104MB

1 & 2, 7 & 8, 9 & 10

108MB

3 & 4, 7 & 8, 9 & 10

112MB

1 & 2, 3 & 4, 7 & 8, 9 & 10

116MB

5 & 6, 7 & 8, 9 & 10

120MB

1 & 2, 5 & 6, 7 & 8, 9 & 10

124MB

3 & 4, 5 & 6, 7 & 8, 9 & 10

128MB

1 & 2, 3 & 4, 5 & 6, 7 & 8, 9 & 10

Note: If this memory board is used with an AM-175 CPU board (AM-1500 series), W8 must be set as follows: Pins 11 & 12, 13 & 14, 15 & 16 closed. If the AM-1500 is used, only 16MB are available. Any memory above 16MB will be automatically disabled. Before this board can be installed in an AM-1500, a 4MB memory board must be installed. Pins designated should be in the closed position.

TIMING DETECTION SELECTION

CPU board used

W7

AM-175

Pins 2 & 4 closed

AM-180

Pins 2 & 4 closed

AM-185

Open

AM-185 (50)

Pins 1 & 3, 2 & 4 closed