TEAC CORPORATION

TAPE 1.4GB

Device Type

Internal Tape Drive

Interface

Floppy

Format

QIC-3020-MC

Sustained Transfer Rate

500KBPS, 2MBPS

Size

3.5 in. quarter height

View

Top

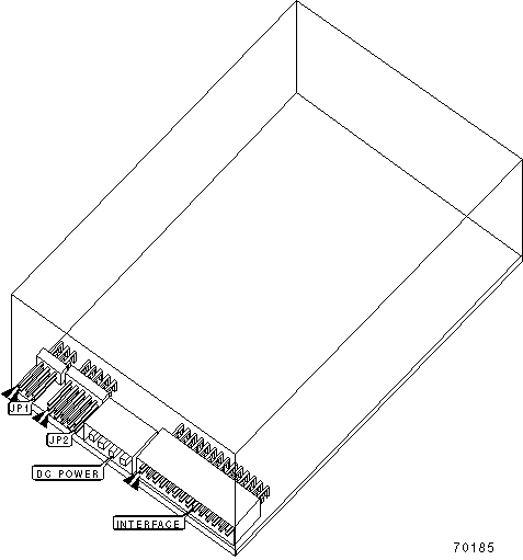
USER CONFIGURABLE SETTINGS

Setting

Label

Position

»

Factory configured - do not alter

JP1

Unidentified

»

Factory configured - do not alter

JP2

Unidentified

MANUFACTURERS RECOMMENDED MEDIA

Tape

Capacity with Compression

MC-3000XL TAUMAT

1.4GB

MC-3000XL QIC-3020

1.4GB

QIC-3020 MC

1.4GB

DIAGNOSTIC LED(S)

LED

Color

Status

Condition

LED1

Unidentified

On

Tape is busy

LED1

Unidentified

Off

Tape is not in use