TOSHIBA

SD-M1102

Device Type

Internal DVD ROM

Interface

ATAPI

Spin Rate (Read)

24x

Formats Supported Read

CD-XA, CD-I, Photo-CD, Video CD, DVD-ROM, CD-DA, CD-ROM (Mode 1 & Mode 2)

View

Top

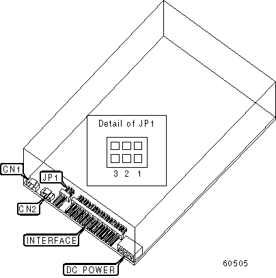
CONNECTIONS

Function

Label

Function

Label

Digital audio line out

CN1

Audio line out

CN2

ATAPI MASTER/SLAVE

Setting

JP1/1

JP1/2

JP1/3

Master in two drive system

Closed

Open

Open

Slave in two drive system

Open

Closed

Open

Master/slave determined by cable select

Open

Open

Closed